Study Guide
University:
Massachusetts Institute of TechnologyCourse:
16.885J | Aircraft Systems EngineeringAcademic year:
2024
Views:
148
Pages:
6
Author:
do3ran7ut
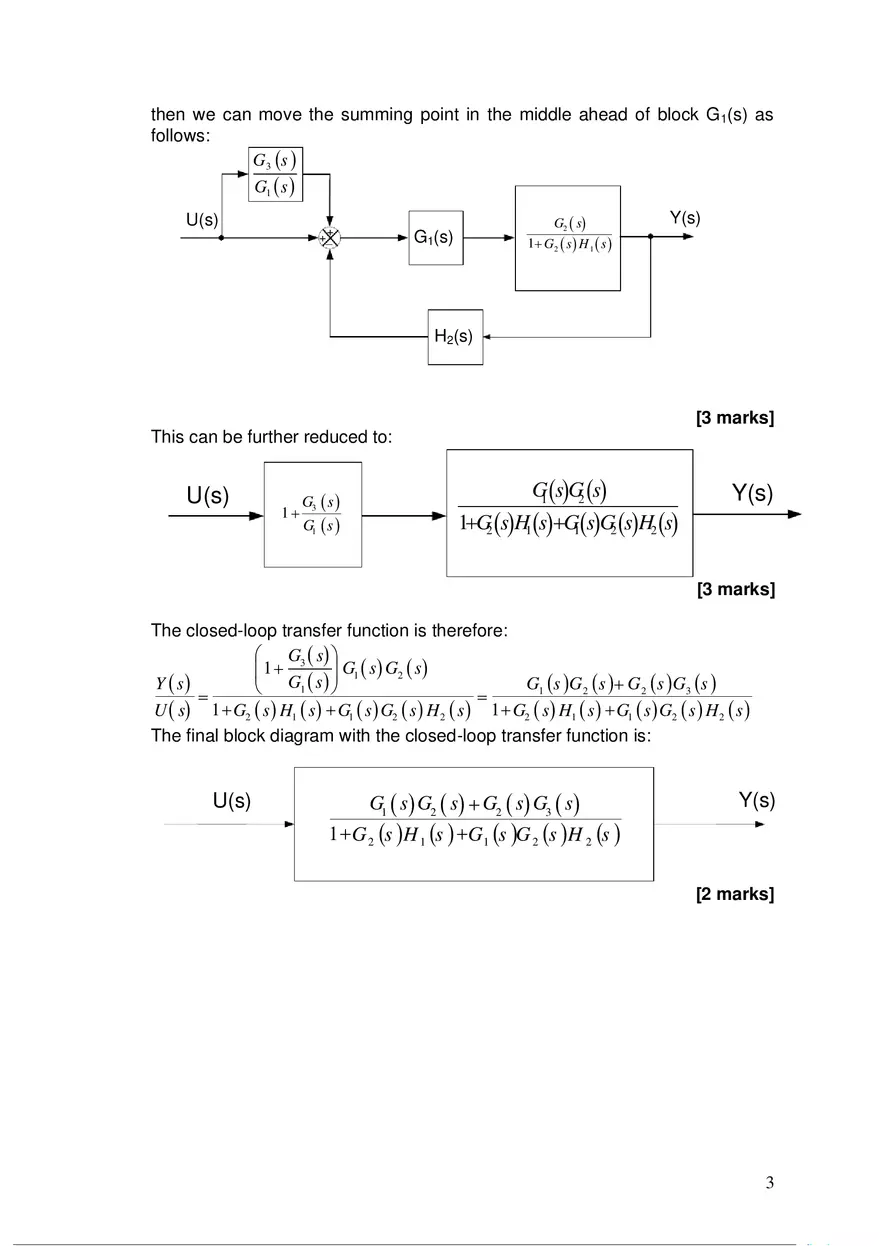
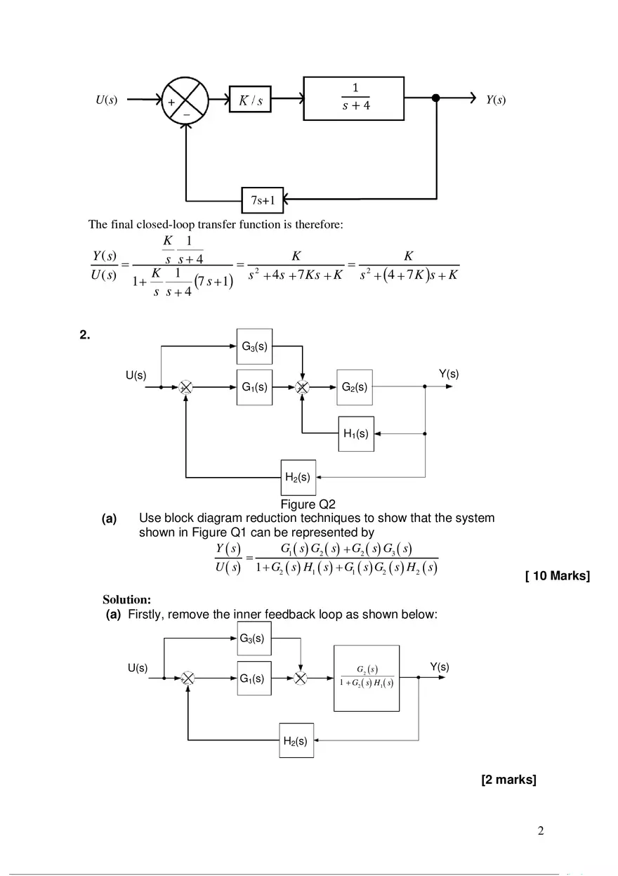
Block Diagram Reduction - Solutions
Report
Tell us what’s wrong with it:
Thanks, got it!
We will moderate it soon!
Report
Tell us what’s wrong with it:
Our EduBirdie Experts Are Here for You 24/7! Just fill out a form and let us know how we can assist you.
Enter your email below and get instant access to your document